About SeekIC | Services | Payment | Advertisements service | Contact Us | Links
© 2008-2012 SeekIC.com Corp.All Rights Reserved.
Published:2009/7/21 22:44:00 Author:Jessie | From:SeekIC

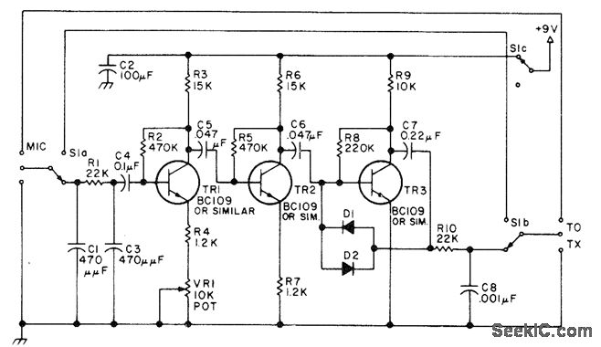
Combined speech amplifier and logarithmic clipper for use with SSB transmitters reduces speech bandwidth to about 500-3000 Hz, with very little distortion. Power can be obtained from separate battery or from transmitter itself.-Circuits, 73 Magazine, March 1977, p 152.
Reprinted Url Of This Article:
http://www.seekic.com/circuit_diagram/Control_Circuit/CLIPPER.html
Print this Page | Comments | Reading(3)
Response in 12 hours
© 2008-2012 SeekIC.com Corp.All Rights Reserved.
Code: