Published:2009/7/7 22:48:00 Author:May | From:SeekIC

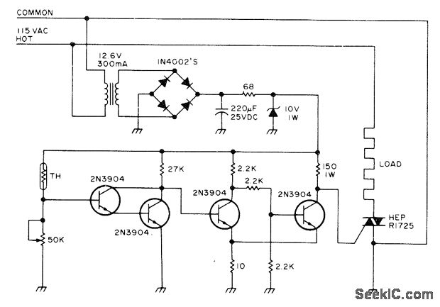
Uses Model K600A thermistor (Allied Electronics) placed in slow cooker to maintain ideal cooking temperature. Pot can be adjusted to provide triggering for ON/OFF control of heating element for cooker, Use polarized power plug for proper operation.-Circuits, 73Magazine, May 1977, p 19.
Reprinted Url Of This Article:
http://www.seekic.com/circuit_diagram/Control_Circuit/COOKER_CONTROL.html
Print this Page | Comments | Reading(3)
Code: