Published:2011/7/10 22:21:00 Author:Lucas | Keyword: Controlling motor , in three places | From:SeekIC

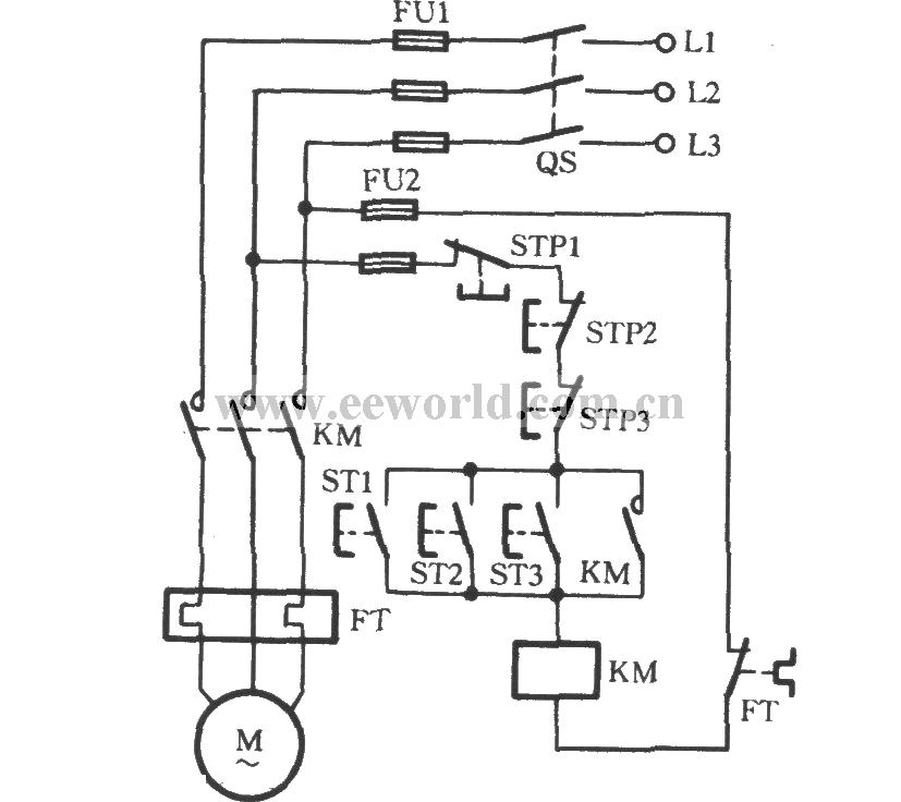
It is often referred as multi-point control in two or more than two locations to control of a motor (action). The circuit shown as the chart can realize controlling a motor in three locations. In the figure, ST is the start button, and STP is stop button. ST1, STP2 are the control buttons in the first place; ST2, STP2 are the control buttons in the second place; ST3, STP3 are the control buttons in the third place. The circuit connecting tips for realizing multi-point control: start buttons are connected in parallel, and stop buttons are connected in series.
Reprinted Url Of This Article:
http://www.seekic.com/circuit_diagram/Control_Circuit/Controlling_a_motor_in_three_places.html
Print this Page | Comments | Reading(3)
Code: