Published:2009/7/2 7:30:00 Author:May | From:SeekIC

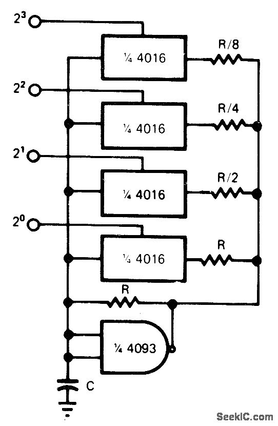
Schmitt trig-ger function of CD4093B IC gives oscillator op-eration over four decades of frequency without changing C. Basic frequency value is equal to kl RC, with k equal to 1.3 up to about 5 kHz and decreasing gradually to 1.0 at 100 kHz. Use of CD4016 quad transmission gate permits remote switching in of additional resistors to provide direct digital control of frequency. Arrangement shown gives choice of five unrelated frequen-cies, but binary selection of binary-weighted re-sistors witl give choice of 16 unrelated frequen-cies.-R. Tenny, CMOS Oscillator Features Digital Frequency Control, EDNMagazine, June 5, 1976, p 114 and 116.
Reprinted Url Of This Article:
http://www.seekic.com/circuit_diagram/Control_Circuit/DIGITAL_CONTROL_T0_100_kHz.html
Print this Page | Comments | Reading(3)
Code: