Published:2009/7/23 22:08:00 Author:Jessie | From:SeekIC

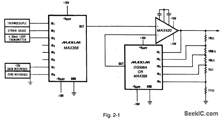
Figure 2-1 shows a typical data0acquisition system using a MAX358 multiplexer.Because the mux is driving a high-impedance input , the error is a function of IC resistance r DS(ON) times the mux leakage current I DS(ON) and the amplifier bias current IBIAS、or:VBRROR=r DS(ON) ×I D(ON) +IBIAS(MAX420) =1.5kΩ×(2nA+30 pA) =3.05-μV maximum error
Reprinted Url Of This Article:
http://www.seekic.com/circuit_diagram/Control_Circuit/Data_acquisition_front_end.html
Print this Page | Comments | Reading(3)
Code: