Published:2011/5/14 4:13:00 Author:Sue | Keyword: Frost, Alarm | From:SeekIC

Working Principle:
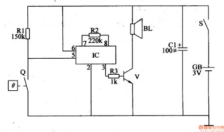
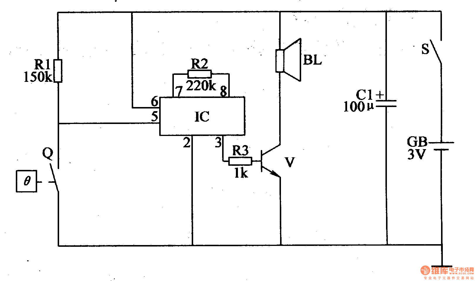
As seen in the figure 4-110, the frost alarm circuit consists of power circuit, temperature detection controlled circuit and alarm circuit.
When S is connected, the alarm circuit prepares to work. When the temperature is higher than 1℃, Q is disconnected and the alarm circuit doesn't work, and BL makes no sound. When the temperature is lower than1℃, Q is connected and IC begins to work. IC's 3 pin will output audio electric signal, which will promote BL to make a warning sound after the signal is amplified by V.
Reprinted Url Of This Article:
http://www.seekic.com/circuit_diagram/Control_Circuit/Frost_Alarm_2.html
Print this Page | Comments | Reading(3)
Code: