Published:2011/6/27 3:41:00 Author:Sue | Keyword: Full, Tank, Alarm | From:SeekIC

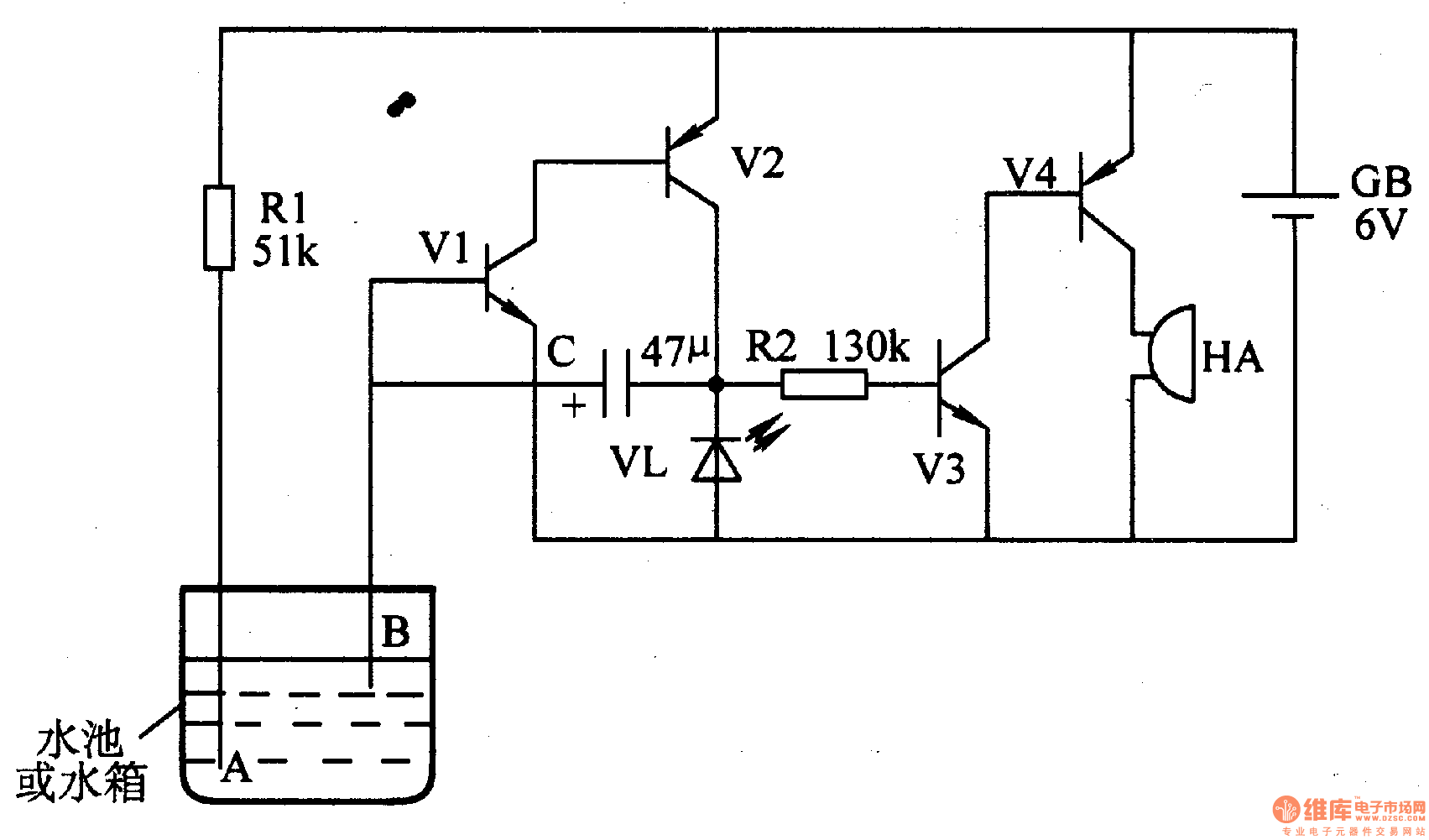
When the water level doesn't reach the set level, the resistance value between A and B is large. V1 is disconnected and the alarm circuit doesn't work. VL is not illuminated and HA doesn't make a sound.
When water reaches the set level, V1-V4 are connected and VL is illuminated. HA makes an alarm sound.
When the distance between A and B is changed, the alarm water level can be changed.
Reprinted Url Of This Article:
http://www.seekic.com/circuit_diagram/Control_Circuit/Full_Tank_Alarm_1.html
Print this Page | Comments | Reading(3)
Code: