Published:2009/7/21 21:43:00 Author:Jessie | From:SeekIC

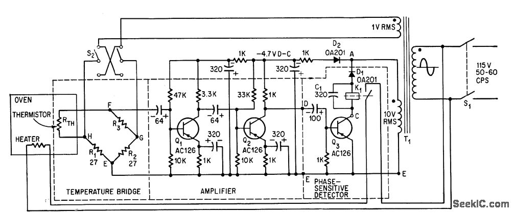
Holds temperature constant to within 0.1℃for any value between -25 and 200℃. For controlling refrigerated unit instead of oven, switch S2 is placed in its other position and output relay is then used to energize solenoid valve that controls fiow of refrigerant.-G. H. P. Kohnke, Electronic Thermostat Controls Temperature to Within 0.1℃,Electronics, 39:1,P 100-102.
Reprinted Url Of This Article:
http://www.seekic.com/circuit_diagram/Control_Circuit/HIGH_ACCURACY_CONTROL.html
Print this Page | Comments | Reading(3)
Code: