Published:2011/4/2 4:13:00 Author:may | Keyword: High speed, bridge mode driver | From:SeekIC

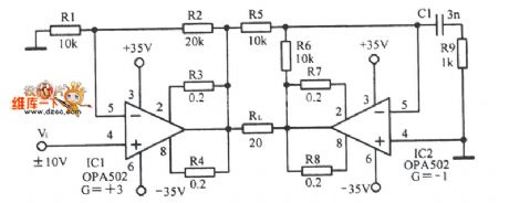
High speed bridge mode driver circuit is shown in the following picture:
Reprinted Url Of This Article:
http://www.seekic.com/circuit_diagram/Control_Circuit/High_speed_bridge_mode_driver_circuit.html
Print this Page | Comments | Reading(3)
Code: