Published:2009/6/17 22:56:00 Author:May | From:SeekIC

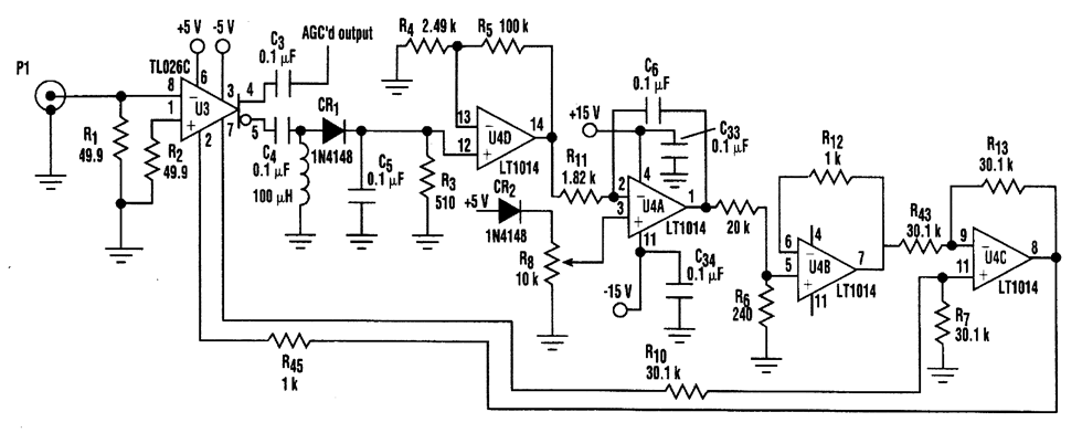
A simple IF AGC circuit that features wide dynamic range and excellent linearity can be achieved with two chips: Tl's TL026C voltage-controlled amplifier IC and Linear Technology's LT1014 (or any other similar basic quad op amp).
Reprinted Url Of This Article:
http://www.seekic.com/circuit_diagram/Control_Circuit/IF_AGO_NETWORK.html
Print this Page | Comments | Reading(3)
Code: