Published:2009/7/21 22:21:00 Author:Jessie | From:SeekIC

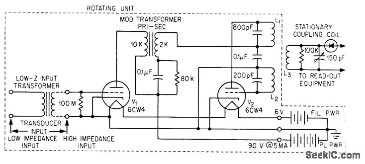
Transducer, oscillator, modulator, and battery supply rotate with device under test. Carrier frequency of 1 Mc, modulated over range of 200 to 10,000 cps, is transferred inductively from rotating output coils L1-L2 to stationary pickup coils.-H. Baumann, Inductive Telemetry Improves Spin-System Measurements, Electronics, 36:46, p 41-42.
Reprinted Url Of This Article:
http://www.seekic.com/circuit_diagram/Control_Circuit/INDUCTIVE_TELEMETRY_FOR_ROTATING_TEST_FIXTURE.html
Print this Page | Comments | Reading(3)
Code: