Published:2011/7/5 6:48:00 Author:Sue | Keyword: Illumination, Controller | From:SeekIC

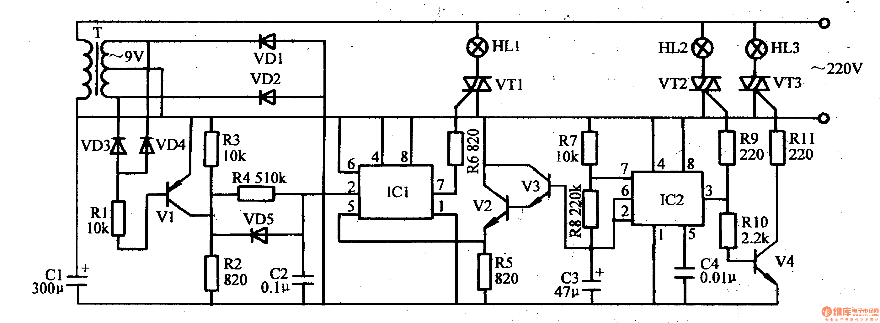
The monostable trigger is controller by the electronic switch circuit and the signals emitted by V2. V1 is disconnected when the network's voltage is 0 and is connected on other occasions. When V1 is connected, the +9v votage will charge C2 through V1 and R4 which will make IC1's pin 2's voltage become higher. When the voltage is higher than half of pin 5's control voltage, pin 7 will be disconnected. When V1 is disconnected, C2 will be discharged through VD5 and R2, which will make IC1's pin 2's voltage become lower. When the voltage is lower than half of pin 5's voltage, pin 7 will have a high resistance value. C2's voltage's change frequency is about 20ms and the waveform is similar to sawtooth wave form.
Reprinted Url Of This Article:
http://www.seekic.com/circuit_diagram/Control_Circuit/Illumination_Controller_12.html
Print this Page | Comments | Reading(3)
Code: