Published:2011/7/6 3:30:00 Author:Sue | Keyword: Illumination, Controller | From:SeekIC

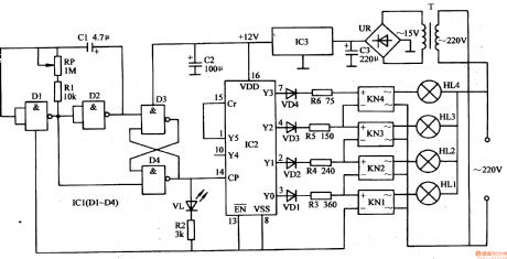
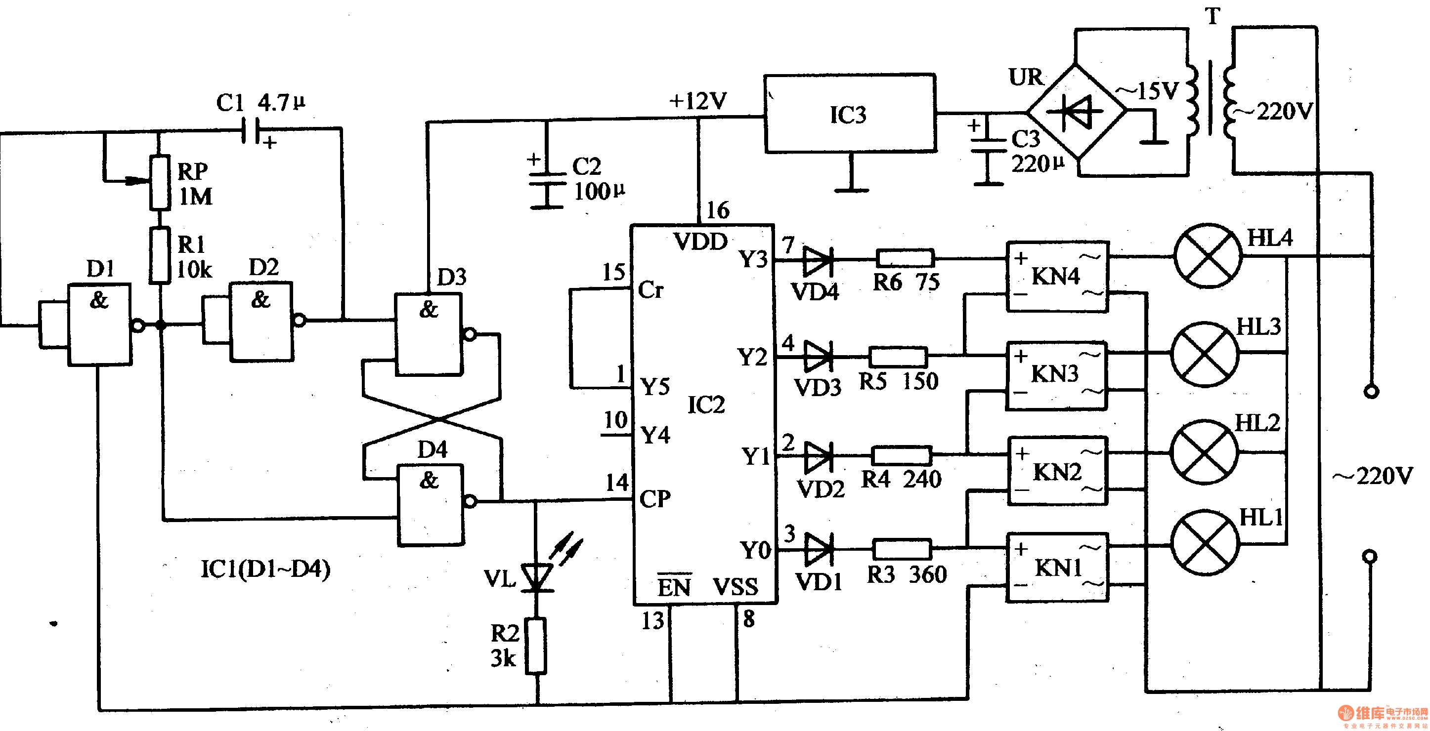
The 220v ac voltage will provide IC1,IC2 with +12v working voltage after it is reduced by T, rectification by UR, filtrated by C3, stablized by IC3.
After the multivibrator begins to work, the oscillate pulse signal generated by it will be put on IC2's pin 14(CP terminal) after it is transformed by trigger RS. The signal will serve as IC2's count pulse. IC2's Y0-Y5 terminals will output high level in turn under the control of count pulse. Then KN1-KN4 will begin to work in turn, which will make HL1-HL4 illuminated in turn.
When IC2's Y0 terminal outputs high level, KN1 begins to work and HL1 is illuminated. Y1-Y5 terminals have low level. KN2-KN4 don't work and HL2-HL4 are not illuminated.
Reprinted Url Of This Article:
http://www.seekic.com/circuit_diagram/Control_Circuit/Illumination_Controller_19.html
Print this Page | Comments | Reading(3)
Code: