Published:2011/6/25 7:56:00 Author:Sue | Keyword: Intermittent, Current, Controler | From:SeekIC

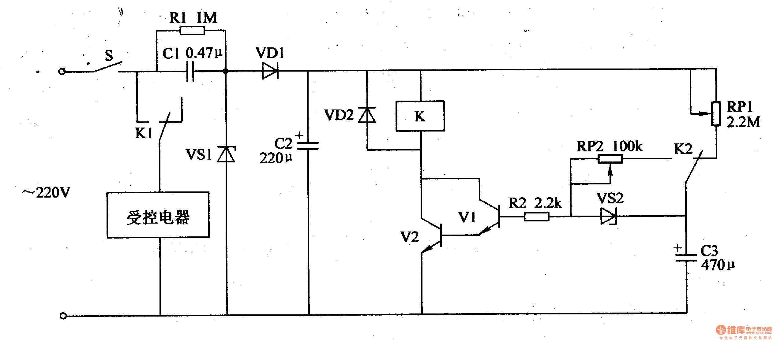
When S is on, 220V voltage will provide K with 15V working voltage and charge C3 by RP1. When C3's voltage reaches a certain value, VS2 will be connected and K is connected. The controled equipment begins to work. C3 will charge V1 and make V1 V2 connected. The equipment continues working. As C3's voltage keeps going down, and reaches 1.5 V, V1 V2 will be disconnected and K1 K2 will be disconnected. The controled equipment will stop working. C3 will be charged by RP1 again.
Reprinted Url Of This Article:
http://www.seekic.com/circuit_diagram/Control_Circuit/Intermittent_Current_Controler_3.html
Print this Page | Comments | Reading(3)
Code: