Published:2011/8/15 1:31:00 Author:Ecco | Keyword: intermittent controller | From:SeekIC

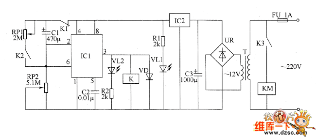
The intermittent controller circuit is composed of the power supply circuit, timing control circuit and control implementation circuit, and it is shown as the chart. Power supply circuit is composed of the fuse FU, power transformer T, bridge rectifier UR, filter capacitor C3, three-terminal voltage regulator integrated circuit IC2, current limiting resistor R1 and the power indicator LED VL1. Timing control circuit consists of the time-base integrated circuit IC1, potentiometers RP1 and RP2, resistor R2, working indication LED VL2 and capacitors C1, C2. Control implementation circuit consists of the relay K, AC contactor KM and diode VD.
Reprinted Url Of This Article:
http://www.seekic.com/circuit_diagram/Control_Circuit/Intermittent_controller_circuit_diagram_2.html
Print this Page | Comments | Reading(3)
Code: