Published:2009/7/16 23:28:00 Author:Jessie | From:SeekIC

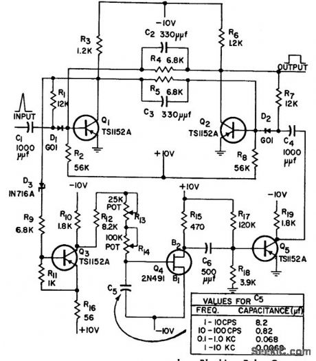
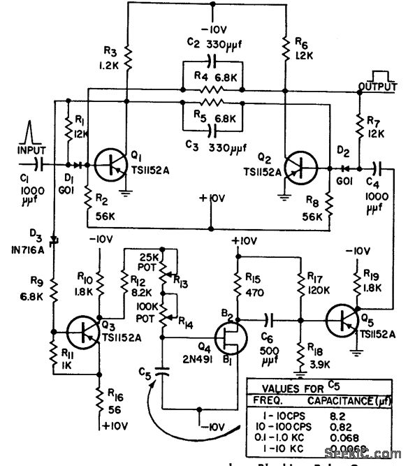
Blanking pulse generator provides blanking signal starting with input pulse and remaining on for some nominal portion of pulse, regardless of dropouts due to noise in triggering pulse.-blanking Pulse Generator with Linear Pulse Width Control, Electronic Circuit Design Handbook, Mactier Pub. Corp., N.Y., 1965, p 78.
Reprinted Url Of This Article:
http://www.seekic.com/circuit_diagram/Control_Circuit/LINEAR_PULSE_WIDTH_CONTROL.html
Print this Page | Comments | Reading(3)
Code: