Published:2011/7/3 3:01:00 Author:Sue | Keyword: Light-Operated, Neon, Light | From:SeekIC

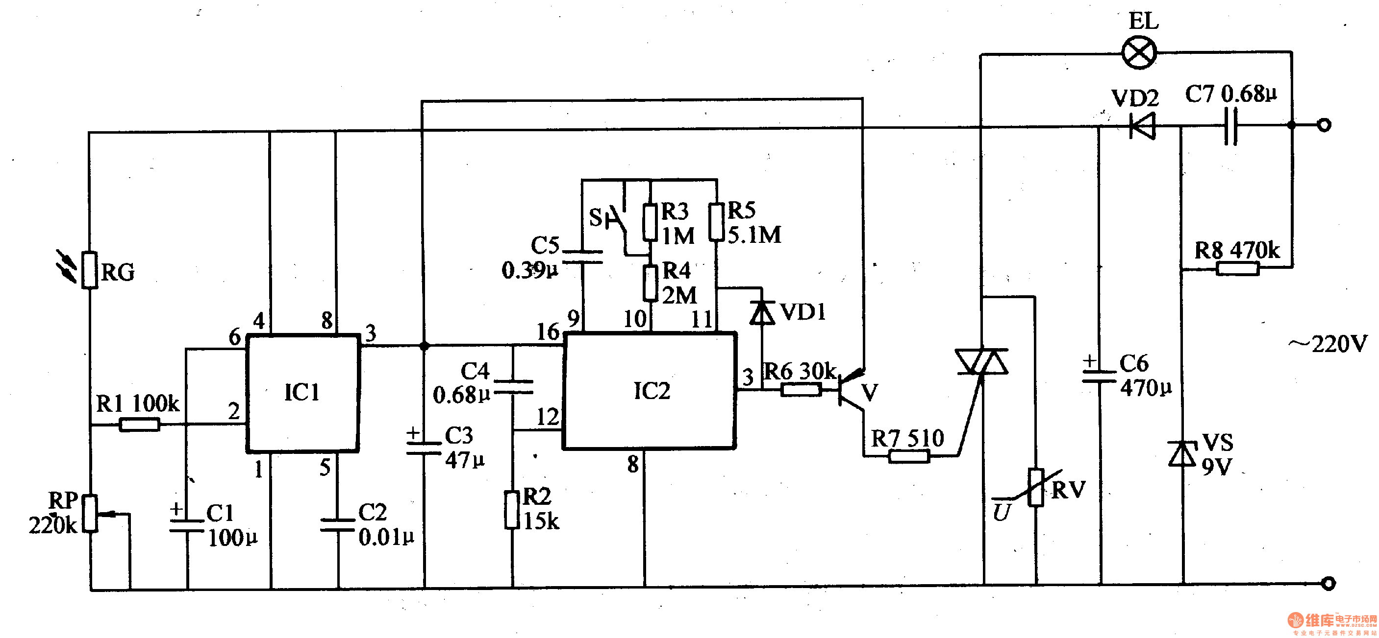
The 220v working voltage will provide IC1 with +8.4 working voltage after reduction, stablization, rectification and filtration.
In the daytime, RG will have a low resistance value because of light, IC1's pin 2 and pin 6 will have high level. Pin 3 will output low level. VT is disconnected. HL doesn't work.
When it is dark, RG will have a high resistance value because of lack of light. IC1's pin 2 and pin 6 will have low level. IC2 will begin to work and begin to count. Its pin 3 will output low level. V and VT are disconnected. When time is over, IC2's pin 3 will become high level. V and VT are connected. HL stops working.
Reprinted Url Of This Article:
http://www.seekic.com/circuit_diagram/Control_Circuit/Light_Operated_Neon_Light_2.html
Print this Page | Comments | Reading(3)
Code: