Published:2011/5/27 6:41:00 Author:Sue | Keyword: Light-Operated, Night Lamp | From:SeekIC

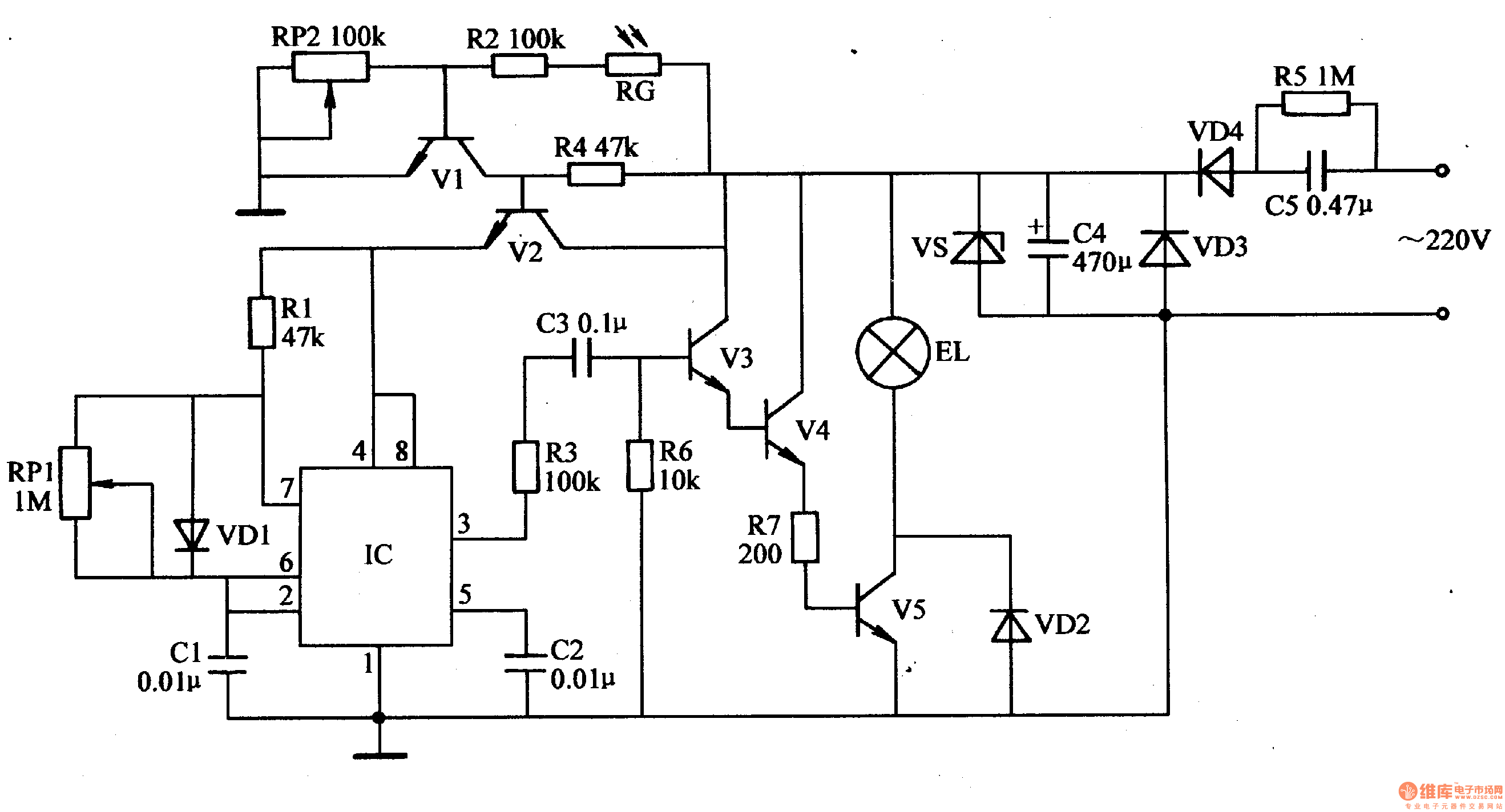
When the multivibrator begins to work, IC's 3 pin outputs pulse signals, which will illuminate EL after amplification.
When it is in the daytime or there is light, RG's resistance value will become small. V1 will be connected and V2 will be disconnected. IC stops working because of lack of power.EL is not illuminated.
When it is dark, RG's resistance value become larger. V1 is disconnected and V2 is connected. The multivibrator and the output circuit will begin to work and EL is illuminated.
Reprinted Url Of This Article:
http://www.seekic.com/circuit_diagram/Control_Circuit/Light_Operated_Night_Lamp_1.html
Print this Page | Comments | Reading(3)
Code: