Published:2011/7/1 6:09:00 Author:Sue | Keyword: Light-Operated, Streetlight | From:SeekIC

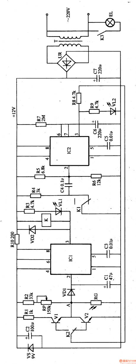
The 220v voltage will provide IC2 with working voltage after the reduction, rectification and filtration. The other circuit will provide the light-operated circuit with Vc voltage.
In the daytime, RG has a low resistance value because of the light. IC1's pin 2's working voltage is higher than 2Vcc/3. IC1's pin 3 will output low level which will make K connected. EL is not illuminated. At the same time, IC2's pin 3 will output high level which will make V2 connected. IC1's pin 2 will output low level. V2 is disconnected.
When it is dark, RG has a higher resistance value. IC1's pin 2's voltage will be lower. When pin 2's voltage is lower than Vcc/3, IC1's pin 3 will have a high level. K is released. V1 is connected.
Reprinted Url Of This Article:
http://www.seekic.com/circuit_diagram/Control_Circuit/Light_Operated_Streetlight_11.html
Print this Page | Comments | Reading(3)
Code: