Published:2011/7/1 6:14:00 Author:Sue | Keyword: Light-Operated, Streetlight | From:SeekIC

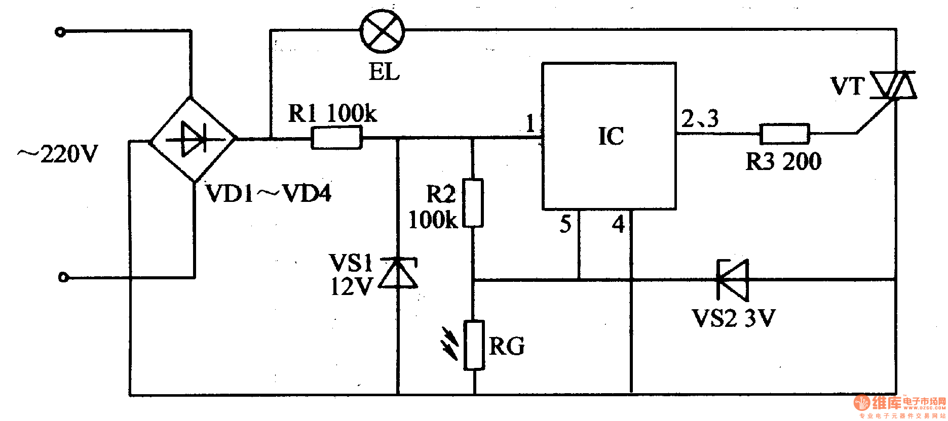
The 220v voltage will generate +12v voltage after reduction and stablization. The voltage will be put on IC. The other circuit will provide IC's pin 5 with voltage.
In the daytime, RG will have a low resistance value which will make IC's pin 5 have a low level. IC's inner switch will be disconnected. Its pin 2 and pin 3 will output low level and VT is disconnected. EL is not illuminated.
When it is dark, RG will have a high resistance value which will make IC's pin 5 have a high level. IC's inner switch will be connected. Its pin 2 and pin 3 will output high level. VT is connected and EL is illuminated.
Reprinted Url Of This Article:
http://www.seekic.com/circuit_diagram/Control_Circuit/Light_Operated_Streetlight_12.html
Print this Page | Comments | Reading(3)
Code: