Published:2011/7/8 5:19:00 Author:Sue | Keyword: Light-Operated, Streetlight | From:SeekIC

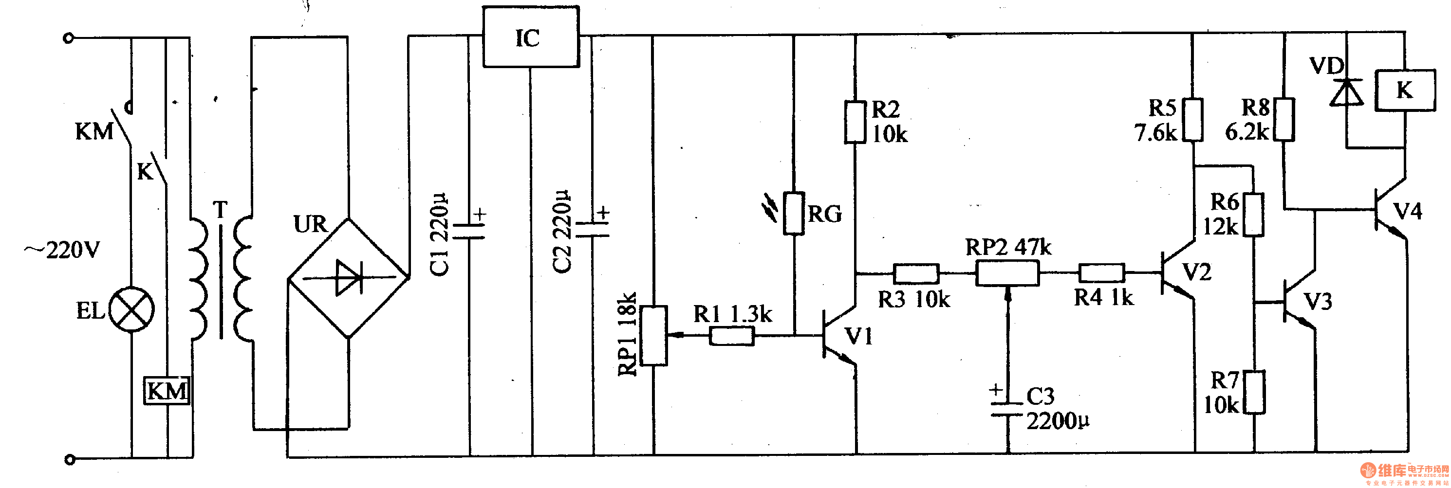
The 220V voltage will provide the light-operated circuit with +12V voltage after it is reduced by T, rectificated by UR, filtrated by C1, stablized by IC.
In the daytime, RG will have a low resistance value because of the light. V1,V3 are connected. v2,v4 are disconnected. K,KM don't work and the streetlight is not illuminated.
In the evening, RG will have a high resistance value and V1,V3 are disconnected. V2 and V4 are connected. K, KM will be connected. The streetlight is illuminated.
By adjusting potentiometer RP1's resistance value, the illuminations can be on and off in the proper light.
Reprinted Url Of This Article:
http://www.seekic.com/circuit_diagram/Control_Circuit/Light_Operated_Streetlight_3.html
Print this Page | Comments | Reading(3)
Code: