Published:2009/7/24 2:37:00 Author:Jessie | From:SeekIC

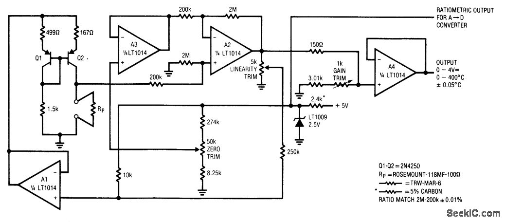
Fig. 13-22 This circuit is an alternate to that of Fig. 13-19, but it also provides a ratiometric output for A/D converters (and does not require switched-capacitor ICs). Calibration is the same as for Fig. 13-19. Linear Technology Linear Applications Handbook 1990 p Ahl1-1.
Reprinted Url Of This Article:
http://www.seekic.com/circuit_diagram/Control_Circuit/Linearized_platinum_RTD_sensor_with_ratiometric_output.html
Print this Page | Comments | Reading(3)
Code: