Published:2011/6/29 21:35:00 Author:Nicole | Keyword: loom, saves electricity controller | From:SeekIC

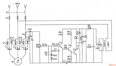
The loom saves electricity controller circuit is composed of 12V regulated power supply circuit, current detection amplifier circuit, relay control circuit and motor control switch circuit, it is shown in the figure 8-18.
The 12V regulated power supply circuit is made of current transformer T, bridge rectifiers UR, filter capacitors C4, C5, current limiting resistor R8 and steady voltage diode VS.
The current detection amplifier circuit consists of current transformer TA, diodes VDl-VD3, capacitor C1, potentiometer RP, resistors R1-R4, transistor V1.
V1-V3's sensitivity can be changed by adjusting RP.
Reprinted Url Of This Article:
http://www.seekic.com/circuit_diagram/Control_Circuit/Loom_saves_electricity_controller_2.html
Print this Page | Comments | Reading(3)
Code: