Published:2011/6/29 21:41:00 Author:Nicole | Keyword: loom, saves electricity controller | From:SeekIC

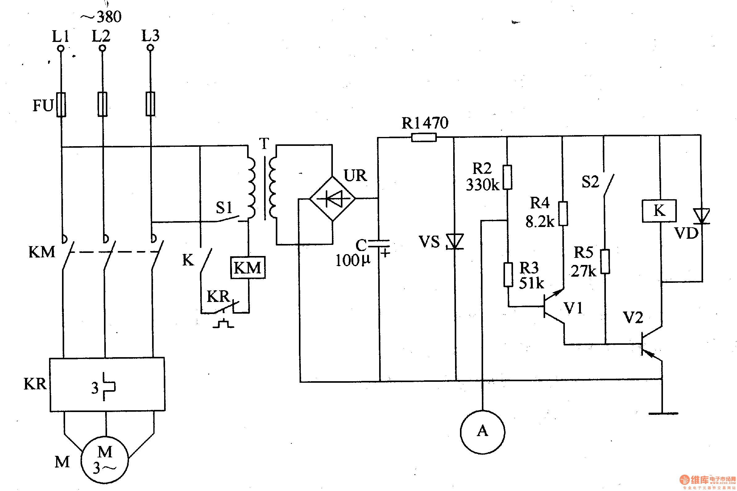
The loom saves electricity controller circuit is composed of DC regulated power supply circuit, touch control circuit, automatically control circuit and master control circuit, it is shown in the figure 19.
The DC regulated power supply circuit is made of current transformer T, bridge rectifiers UR, filter capacitor C, current limiting resistor R1 and steady voltage diode VS.
The touch control circuit consists of touch electrode A, resistors R2-R4 and transistor V1.
The automatically control circuit is composed of travel switch S2, resistor R5, relay K, diode VD and transistor V2.
Reprinted Url Of This Article:
http://www.seekic.com/circuit_diagram/Control_Circuit/Loom_saves_electricity_controller_3.html
Print this Page | Comments | Reading(3)
Code: