Published:2011/7/20 19:30:00 Author:Lucas | Keyword: Mine locomotive , remote controller | From:SeekIC

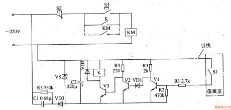
The mine locomotive remote controller circuit consists of transistors Vl-V3, capacitors Cl and C2, resistors Rl-R5, diodes VDl and VD2, control switch Sl and Zener diode VS, and the circuit is shown in Figure 8-35. Stop button S2, start button S3, AC contactor KM and normally open contact K form the main control circuit of the stepless rope motor M (it is not shown in the chart). VS, Cl, C2, R5 and VD3 form the integral power supply circuit, and the control switch S1 is installed in the duty room, and one end is grounded, the other end is connected to R1 by the leading wire.
Reprinted Url Of This Article:
http://www.seekic.com/circuit_diagram/Control_Circuit/Mine_locomotive_remote_controller.html
Print this Page | Comments | Reading(3)
Code: