Published:2011/6/10 6:13:00 Author:Lucas | Keyword: Mine locomotive , remote controller | From:SeekIC

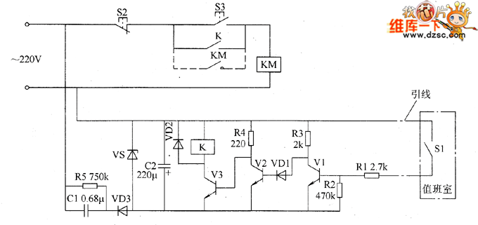
The mine locomotive remote controller circuit consists of transistors V1 ~ V3, capacitors C1 and C2, resistors R1 ~ R5, diodess VD1 and VD2, Zener diode VS and the control switch S1, and the circuit is shown as the chart. Stop button S2, start button S3, AC contactor KM and the normally open contact of K form the main control circuit of Stepless rope motor M (it is not shown in the circuit). VS, C1, C2, R5, and VD3 form the regulated power supply circuit, and the control switch S1 is installed in the duty room, then the one end is connected to the ground, and the other end is connected to R1 by wire. AC 220V voltage bucked by C1, rectified by VD3, filtered by C2 and stabilized by vs to provide 9V DC voltage for relay control circuit. R1 ~ R5 use 1/4W carbon film resistors or metal film resistors.
Reprinted Url Of This Article:
http://www.seekic.com/circuit_diagram/Control_Circuit/Mine_locomotive_remote_controller_circuit_diagarm.html
Print this Page | Comments | Reading(3)
Code: