Published:2011/8/2 8:22:00 Author:Robert | Keyword: Hongqi, Century Star, Engine | From:SeekIC








The pictures shown the Hongqi Century Star engine circuits.
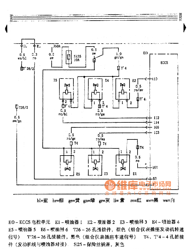
In the first picture, the EO is ECCS ECU. The DB is electric fuel pump. The DS is AAC value. The BJ is electric fuel pump relay. The T10 is 10-hole connector and its colour is yellow (engine wire and engine left wire is connected). The T'10 is 10-hole connector and its colour is blue (engine left wire and the dashboard wire is connected).In the second picture the EO is ECCS ECU. The E1 is oil injector 1. The E2 is oil injector 2. The E3 is oil injector 3. The E4 is oil injector 4. The E5 is oil injector 5. The E6 is oil injector 6. The T26 is a 26-hole connector which is brown (instrument cluster socket engine speed signal). The T'26 is a 26-hole connector which is black (instrument cluster socket car speed signal). The T4, T'4 are 4-hole connectors (engine wire and oil injector is connected). The Si25 is fuse socket which is gray. And so on.
Reprinted Url Of This Article:
http://www.seekic.com/circuit_diagram/Control_Circuit/Motor_Control/Hongqi_Century_Star_Engine_Circuit.html
Print this Page | Comments | Reading(3)
Code: