Published:2011/6/30 22:50:00 Author:Nicole | Keyword: motor, electronic governor controller | From:SeekIC

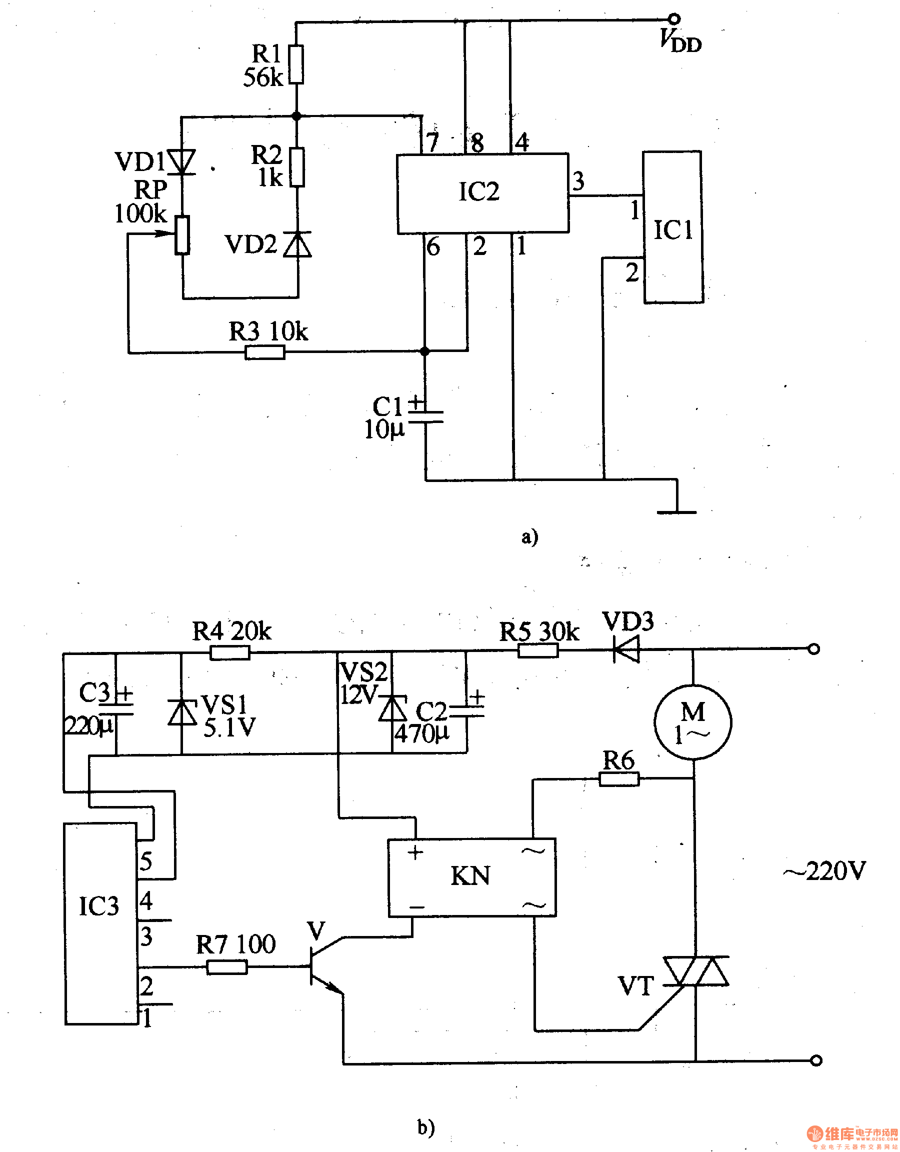
The motor electronic governor controller circuit is composed of wireless remote control transmitting circuit and wireless remote control receiving control circuit, it is shown in the figure 8-64.
The wireless remote control transmitting circuit is made of micro-power wireless remote control transmitting integrated circuit module IC1, time base integrated circuit IC2, diodes VD1, VD2, resistors R1-R3, potentiometer RP and capacitor C1.
The wireless remote control receiving control circuit consists of micro-power wireless remote control receiving integrated circuit module IC3, steady voltage diode VS1, VS2, resistors R4-R7, diode VD3, transistor V, solid state relay KN(SSR) and thyristor VT.
Reprinted Url Of This Article:
http://www.seekic.com/circuit_diagram/Control_Circuit/Motor_electronic_governor_controller_7.html
Print this Page | Comments | Reading(3)
Code: