Published:2011/6/27 21:29:00 Author:Nicole | Keyword: Motor, protector | From:SeekIC

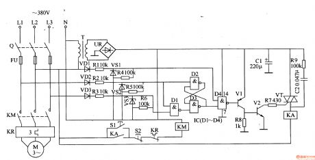
This motor protector circuit is composed of power supply circuit, phase sequence detection circuit, trigger and protection control circuit, it is shown in the figure 8-49.
The phase sequence detection circuit is made of diodes VDl-VD3, resistors R1-R6 and steady voltage diodes VS1-VS3.
The protection control circuit consists of transistors V1, V2, resistors R7-R9, capacitor C2, thyristor VT and middle relay KA.
The motor control circuit is composed of starter button S1, stop button S2, knife switch Q, fuse FU, heat relay KR and AC contactor KM.
Reprinted Url Of This Article:
http://www.seekic.com/circuit_diagram/Control_Circuit/Motor_protector_13.html
Print this Page | Comments | Reading(3)
Code: