Published:2011/6/27 21:53:00 Author:Nicole | Keyword: Motor, protector | From:SeekIC

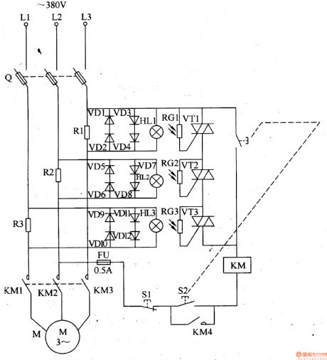
This motor protector circuit is current sampling detection circuit and optical control protection circuit, it is shown in the figure 8-51.
The current sampling detection circuit is made of sampling resistors R1-R3.
The optical control protection circuit consists of protection diodes VD1-VD12, small bulbs HL1-HL3, photosensitive resistors RG1-RG3 and thyristors VT1-VT3.
Q is fuse type knife switch, FU is fuse, S1 is stop button, S2 is starter button, KM is AC contactor.
When starter button S2 is pressed, KM pulls in, the normally open contact is turned on, motor M starts running, when the three-phase AC supply is normal, the both sides of sampling resistors R1-R3's voltage all drop to 1V.
Reprinted Url Of This Article:
http://www.seekic.com/circuit_diagram/Control_Circuit/Motor_protector_15.html
Print this Page | Comments | Reading(3)
Code: