Published:2011/8/10 4:11:00 Author:Nicole | Keyword: Motor protector | From:SeekIC

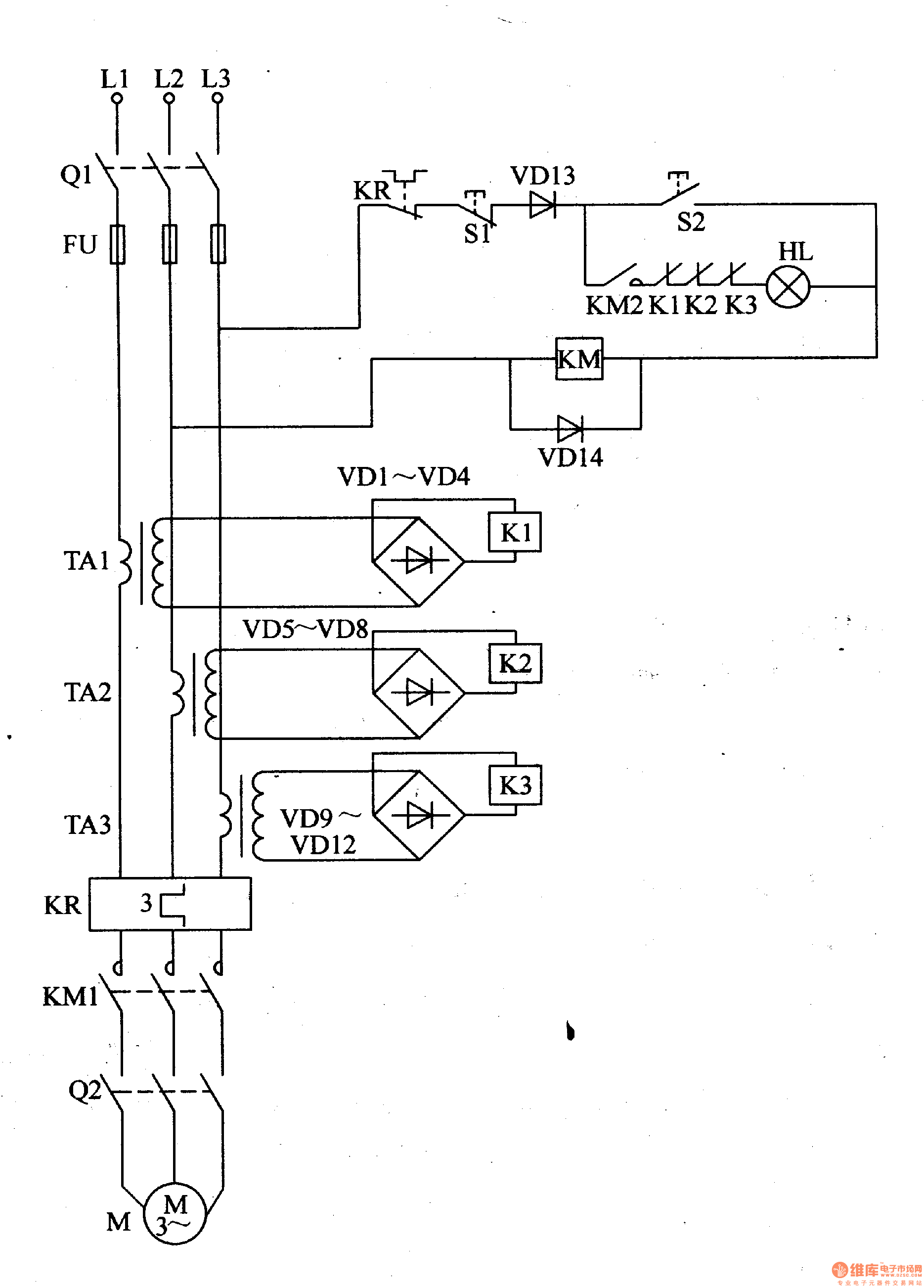
This motor protector circuit is composed of current transformer TA1-TA3, heat relay KP, rectifier diodes VDl-VDl4, relays K1-K3, starter button S1, stop button S2 and AC contactor KM, it is shown in the figure 8-42.
For some reasons, phase power is cut off, then this current transformer losses the work current, relay releases, the normally open contact is cut off, AC contactor KM cuts off and releases, then the motor M's work power is cut off, it can protect motor from damaging.
Reprinted Url Of This Article:
http://www.seekic.com/circuit_diagram/Control_Circuit/Motor_protector_6.html
Print this Page | Comments | Reading(3)
Code: