Published:2011/6/27 21:04:00 Author:Nicole | Keyword: Motor, protector | From:SeekIC

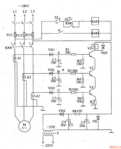
This motor protector circuit is composed of power supply circuit, current detection circuit and protection control circuit, it is shown in the figure 8-44.
The power supply circuit is made of power transformer C4, C5, current limiting resistor R8 and steady voltage diode VS, this circuit can produce +20V voltage, it feeds to relay K and the drive cirucit.
The current detection circuit consists of current converter LA1, LA2, LA3, rectifier diodes VD1-VD2, fliter capacitors C1-C3.
The protection control circuit is composed of resistors R1-R7, transistors V1-V3, relay K, AC contactor KM1, KM2, and starter button S1, stop button S2.
Reprinted Url Of This Article:
http://www.seekic.com/circuit_diagram/Control_Circuit/Motor_protector_8.html
Print this Page | Comments | Reading(3)
Code: