Published:2011/7/19 21:23:00 Author:TaoXi | Keyword: Motorcycle, anti-thief, alarm | From:SeekIC

The principle of the circuit
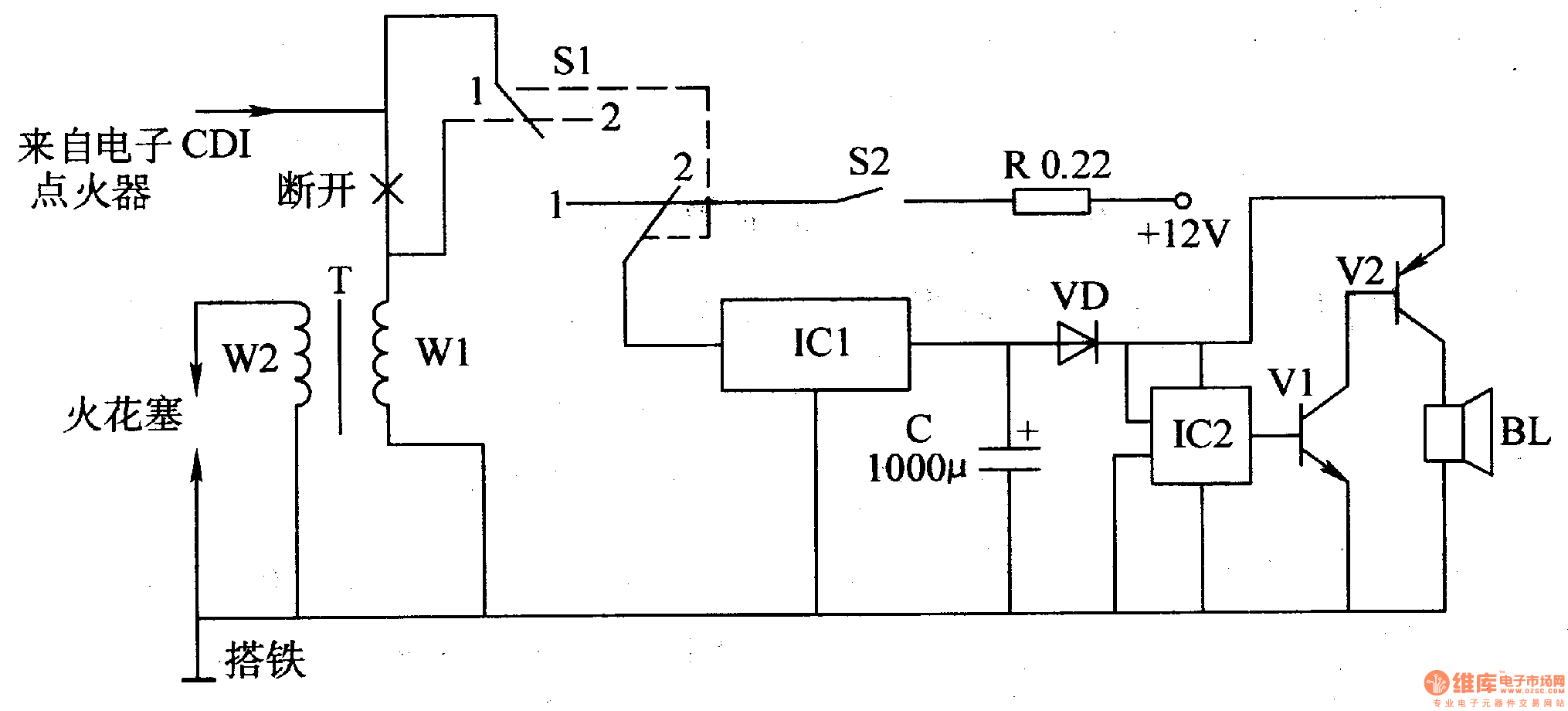
The motorcycle anti-thief alarm circuit is composed of the anti-theft control switch S1, the mercury switch S2, the current-limit resistor R, the three-port voltage stabilization circuit IC1, the filter capacitor C, the diode VD, the alarm sound integrated circuit lC2, the transistors V1 and V2, the speaker BL, the circuit is as shown in figure 7-93.
Components selection
R uses the 5W fusing resistor.C uses the 16V aluminum electrolytic capacitor.VD uses the 1N4001 or 1N4007 silicon rectifier diode.Vl uses the S9013 silicon NPN transistor; V2 uses the S8550 silicon PNP transistor.lCl uses the LM7805 three-port voltage integrated circuit; IC2 uses the KD9561 four tones sound IC.
Reprinted Url Of This Article:
http://www.seekic.com/circuit_diagram/Control_Circuit/Motorcycle_anti_thief_alarm_circuit_10.html
Print this Page | Comments | Reading(3)
Code: