Published:2011/7/19 22:13:00 Author:TaoXi | Keyword: Motorcycle, anti-thief, alarm circuit | From:SeekIC

The principle of the circuit
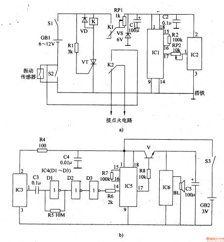
The motorcycle anti-thief alarm circuit is composed of the theft case detection/wireless launch circuit and the wireless receiving alarm circuit, the circuit is as shown in figure 7-95.
The theft case detection/wireless launch circuit is composed of the theft case detection circuit, the control circuit and the wireless launch circuit.The theft case monitoring circuit is composed of the vibration sensor, the power supply switch S1 and the motorcycle lock switch S2.The control circuit is composed of the relay K, the diode VD, the resistors Rl and the thyristor VT.The voltage stabilization filter circuit is composed of the voltage stabilization diode VS and the filter capacitors Cl and C2.The wireless launch circuit is composed of the wireless code integrated circuit ICl, the wireless launch integrated circuit lC2, the resistors R2 and the potentiometer R.
Reprinted Url Of This Article:
http://www.seekic.com/circuit_diagram/Control_Circuit/Motorcycle_anti_thief_alarm_circuit_12.html
Print this Page | Comments | Reading(3)
Code: