Published:2009/7/9 23:32:00 Author:May | From:SeekIC

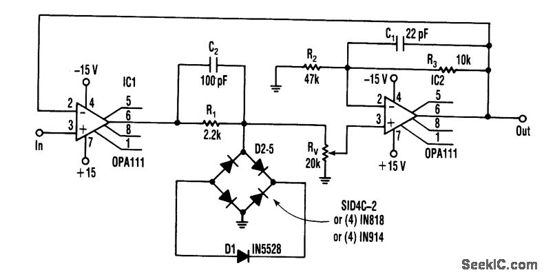
A limiter circuit that requires matched zener diodes can instead use one zener with a full-wave diode bridge. The circuit's two limits are nearly equal when determined by the same zener-only two pairs of forward diodes need to be matched. For best results, an integrated quad of diodes can be used. But, after testing the circuit, four single controlled-drop diodes and four ordinary diodes gave about the same accu-racy (better than 0.5%).
Because the limiting level can be adjusted, zener tolerance can be adjusted out. Gain stability can be optimized by connecting the inverting input to the first op amp to the output of the second to make the circuit inherently unity-gain.
The zener voltage must be increased to 8.2V to compensate for the two diode drops. Placing small capacitors across the resistors in the loop stabilized the circuit adequately and response is orders of magni-tude faster than conventional circuits. Moreover, it's limited primarily by the op amp's slew rate.
Reprinted Url Of This Article:
http://www.seekic.com/circuit_diagram/Control_Circuit/ONE_ZENER_PRECISE_LIMITER.html
Print this Page | Comments | Reading(3)
Code: