Published:2009/7/21 10:42:00 Author:Jessie | From:SeekIC

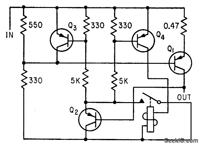
Switches power off rapidly to prevent current overloads from damaging transistors in breadboard circuits under test. Voltage drop across 0.47-ohm resistor and Q1 biases Q2 to saturation, causing Q3 and Q4 to open power relay.- F. W. Kear, Laboratory Supply for Transistors, Electronics, 35:30, p 55-57.
Reprinted Url Of This Article:
http://www.seekic.com/circuit_diagram/Control_Circuit/OVERLOAD_PROTECTION_2.html
Print this Page | Comments | Reading(3)
Code: