Published:2009/7/23 22:05:00 Author:Jessie | From:SeekIC

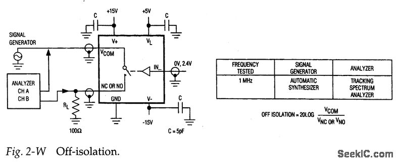
Figure 2-W shows a test circuit for measuring the isolation between channels (when the channel switch is open) for the MAX301/3/5. Typical isolation is 72 dB,
Reprinted Url Of This Article:
http://www.seekic.com/circuit_diagram/Control_Circuit/Off_isolation_tests.html
Print this Page | Comments | Reading(3)
Code: