Published:2011/7/5 23:17:00 Author:Sue | Keyword: Pendant Light, Controller | From:SeekIC


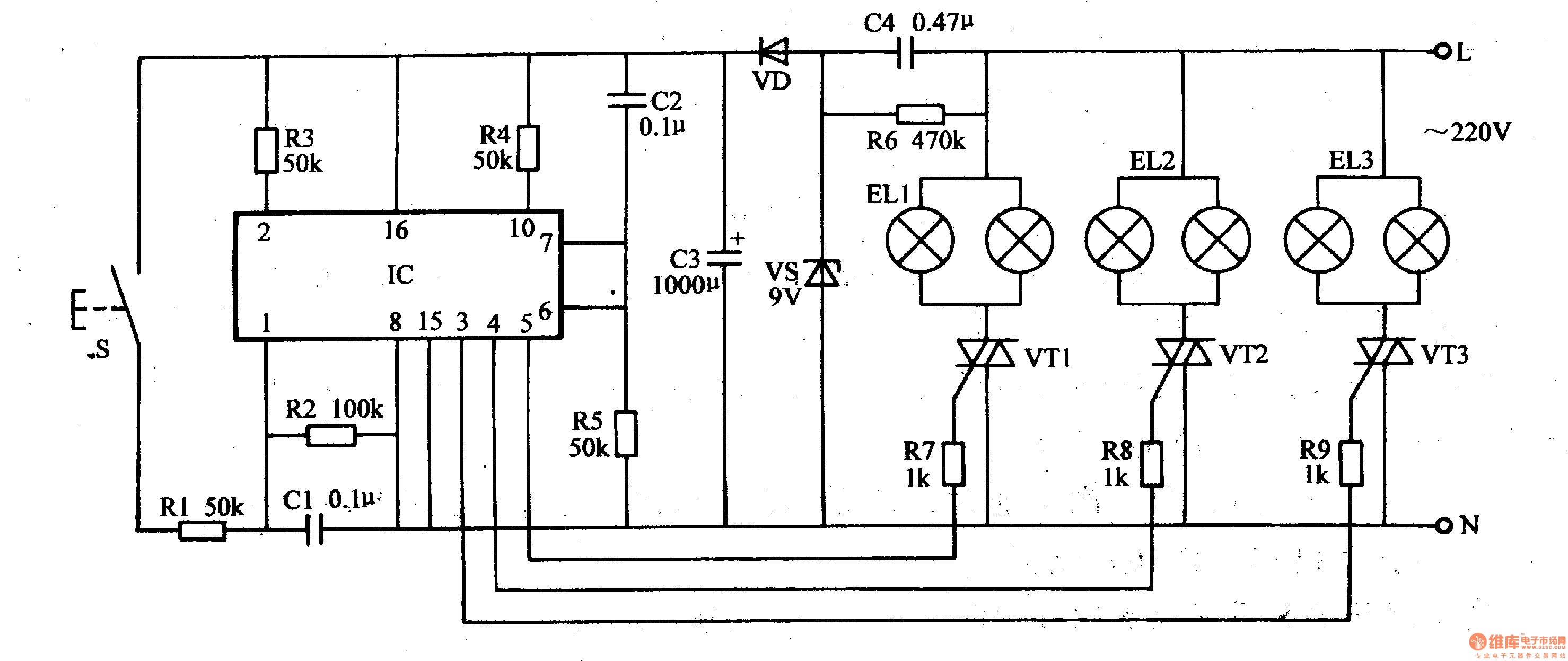
When S is pushed continuously, IC's pin 1 will input positive pulse signals continuously. Its output terminals(pin 6,pin 5,pin 4, pin 3) will output signals inbinary order of 0001-1000(0 is low level and 1 is high level). IC's pin3, pin 4 ,pin 5 are connected to VT3, Vm, VT1 respectively by R9, R8, R7. When one of IC's output terminals outputs high level, the controlled thyristor will be connected.That is when IC's pin 3 outputs high level, VT3 is connected and the 3rd circuit of illuminations EL3 are illuminated. When IC'spin 4 outputs high level, Vm is connected and the 2nd circuit of illuminations EU are illuminated. When IC's pin 5 outputs high level, VT1 is connected and the first circuit of illuminations EL1 are connected.
Reprinted Url Of This Article:
http://www.seekic.com/circuit_diagram/Control_Circuit/Pendant_Light_Controller_2.html
Print this Page | Comments | Reading(3)
Code: