Published:2011/7/5 22:06:00 Author:Sue | Keyword: Pendant, Light Controller | From:SeekIC

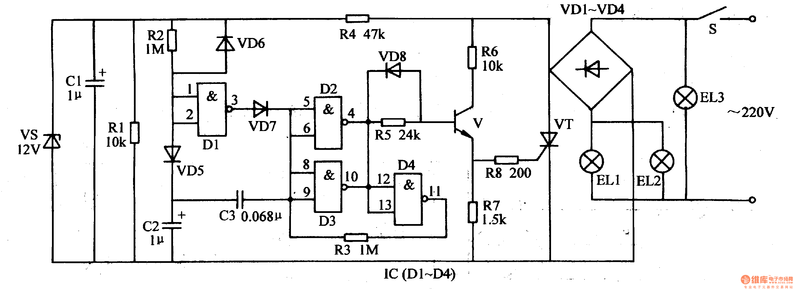
When S is connected, the 220v voltage will be put on the 3rd group of illuminations EL3 through S which will make EL3 illuminated. The other circuit will generate +12v voltage after it is rectificated by VD1-VD4, current-limited and voltage-reducted by M, filtrated by C1, stablized by VS. Apart from providing IC with working power, the +12v voltage will charge C2 through R2 and VD5.
When the +12v voltage is generated, because C2's voltage can't realise abrupt change, NOT gate D1's input terminals(IC's pin1 and pin2) have low level. Its output terminal(IC's pin 3)'s high level will charge C3 through VD7 which will make NOT gate D2's and D3's output terminal (IC's pin 4 and pin 10) have low level. V and VT are not connected. The first group of illuminations EL1 and the second group of illuminations EL2 are not illuminated.
Reprinted Url Of This Article:
http://www.seekic.com/circuit_diagram/Control_Circuit/Pendant_Light_Controller_3.html
Print this Page | Comments | Reading(3)
Code: