Published:2011/5/20 22:03:00 Author:Lucas | Keyword: Motor protector | From:SeekIC

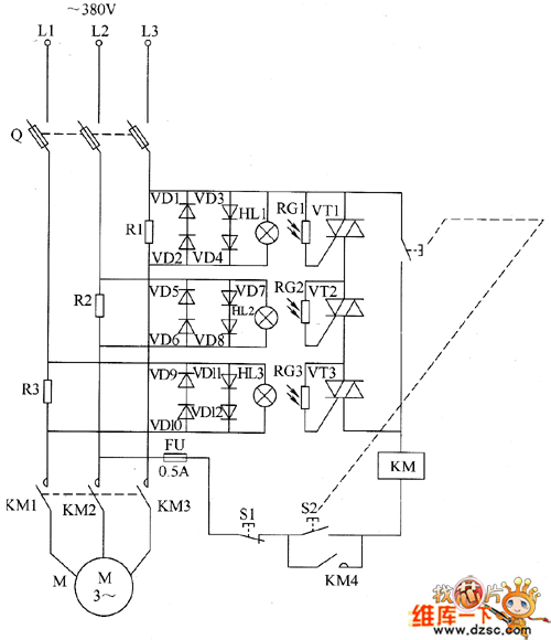
The motor protector circuit detection circuit is composed of the current sampling circuit and light control protection circuit, the circuit is shown as the chart. Current sampling detection circuit consists of sampling resistors R1 ~ R3. Light control protection circuit is composed of the protection diodes VD1 ~ VD12, small bulbs HL1 ~ HL3, photosensitive resistors RC1 ~ RC3 and thyristors VT1 ~ VT3. Q is the fuse knife switch, FU is fuse, S1 is stop button, S2 is the start button, KM is the AC contactor. R1 ~ R3 select 5 ~ 1OW wire wound resistors, the resistance should be based on the rated power of motor. If it uses 1.5kW motor, the rated current is about 3A, the sampling resistors can be set at 0.3Ω. RG1 ~ RG3 use MC45 series of light-sensitive resistors. VD1 ~ VD12 use 1N5408 silicon rectifier diodes. VT1 ~ VT3 select MAC97A6 bidirectional thyristors.
Reprinted Url Of This Article:
http://www.seekic.com/circuit_diagram/Control_Circuit/Protection_Circuit/Motor_protector_circuit_diagram_15.html
Print this Page | Comments | Reading(3)
Code: