Published:2011/7/17 20:16:00 Author:chopper | Keyword: care lamp | From:SeekIC

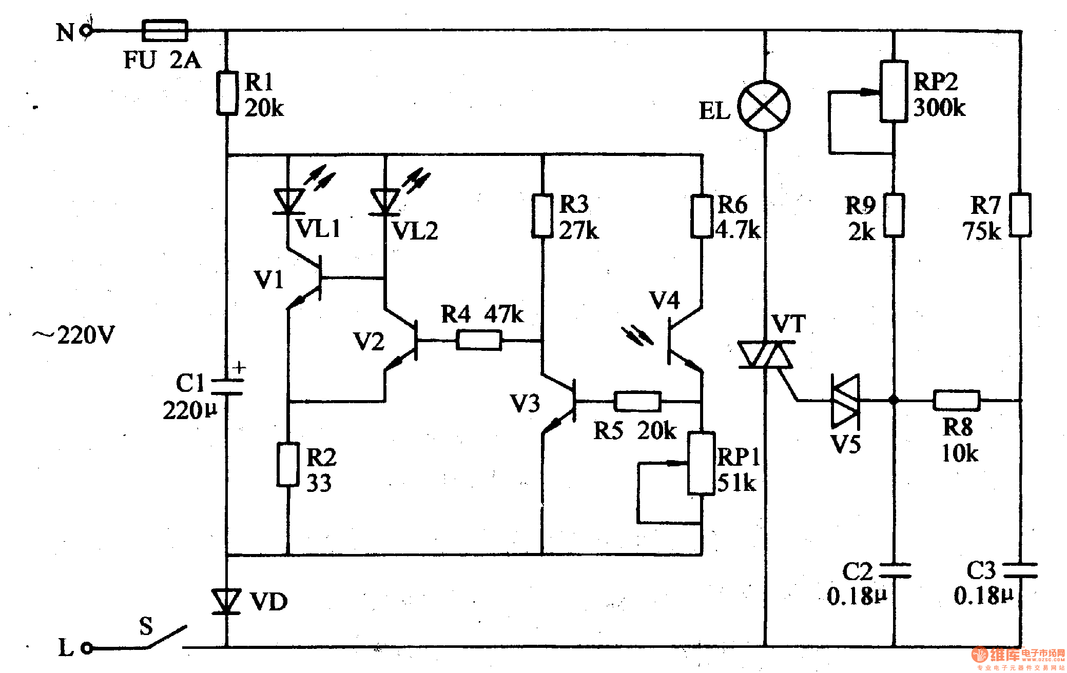
This example describes the eyes care lamp, which has functions like automatic metering and manual dimming.when light is dim, the red LED lights, indicating that the light is not suitable for reading and writing, and it should increase the light level; and when the light is bright,the green LED lights to indicate that the area under the lamp is suitable for reading and writing. The principle of circuitThe eyes care lamp circuit is formed by the light metering/light intensity indication circuit and the light dimming circuit,which is shown in Figure 1-190.
Reprinted Url Of This Article:
http://www.seekic.com/circuit_diagram/Control_Circuit/Protection_Circuit/eyes_care_lamp1.html
Print this Page | Comments | Reading(3)
Code: