Published:2011/7/17 20:36:00 Author:chopper | Keyword: care lamp | From:SeekIC

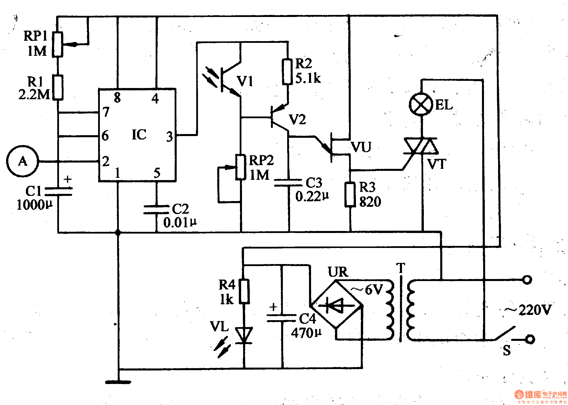
This example describes the eyes care lamp with functions like touch-sensitive light and turn off timing,and it can dim the light level according to the intensity of indoor light level automatically. γ The principle of circuitThe eyes care lamp circuit is formed by the power circuit, touch/timing control circuit and metering and dimming circuit,which is shown in Figure 1-19 γγThe power circuit is formed by the power switch S,the power transformer T,bridge rectifier UR,filter capacitor C4,current limiting resistor R4 and the power indicative light-emitting diode VL.
Reprinted Url Of This Article:
http://www.seekic.com/circuit_diagram/Control_Circuit/Protection_Circuit/eyes_care_lamp2.html
Print this Page | Comments | Reading(3)
Code: