Published:2011/7/17 20:36:00 Author:chopper | Keyword: care lamp | From:SeekIC

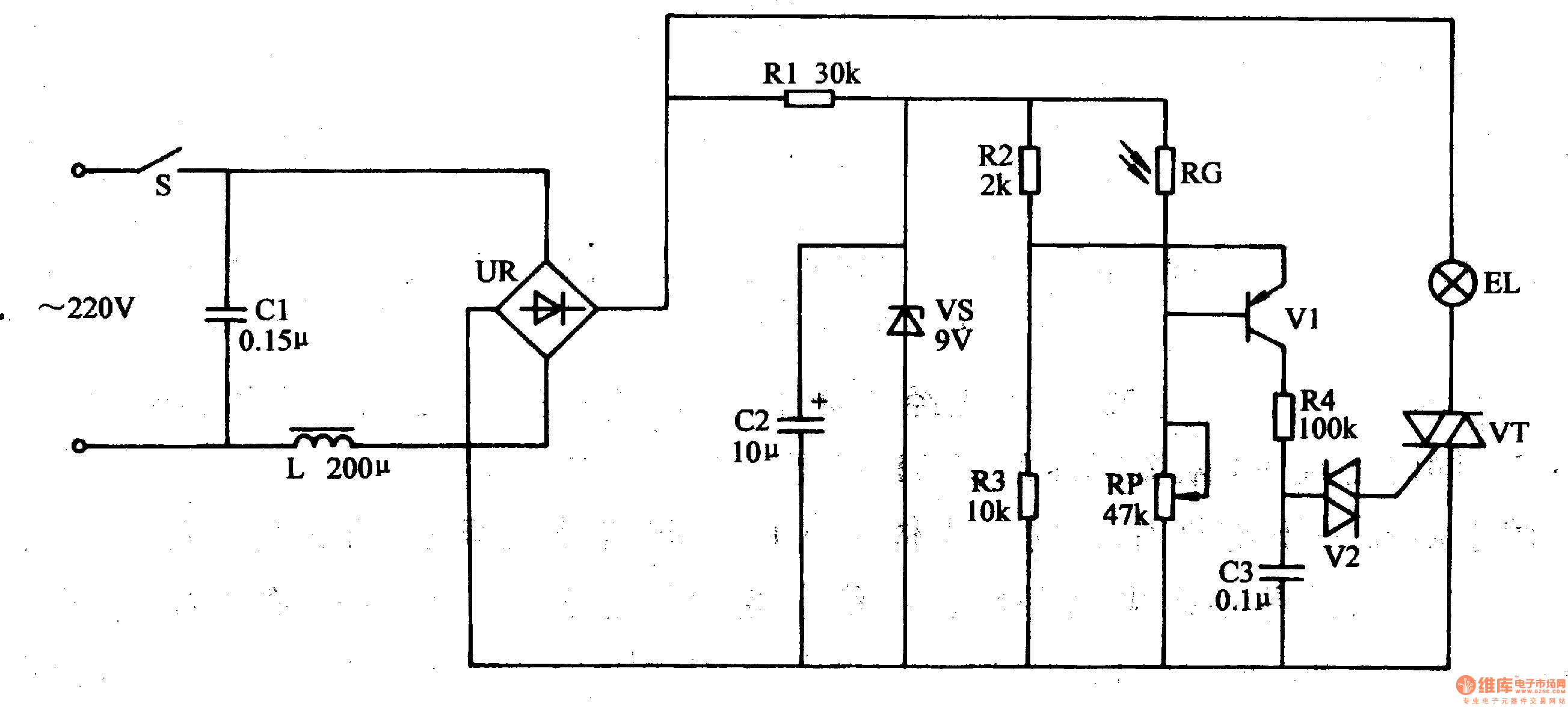
This example describes the eyes care lamp,which can dim the light level based on the intensity of indoor light level automatically. And it can protect the eyes and it is suitable for reading and writing. The principle of circuitThe eyes care lamp circuit is formed by the power circuit and optical control circuit,which is shown in Figure 1-192. Power supply circuit is formed by the power switch S, filter capacitors C1,C2,inductor L,bridge rectifier UR, current limiting resistor R1 and diode voltage regulator VS. The optical control circuit is formed by the photosensitive resistor RC, resistors R2-R4, potentiometer RP, capacitor C3, transistor V1,and dual-track trigger diode V2 and thyristor VT.
Reprinted Url Of This Article:
http://www.seekic.com/circuit_diagram/Control_Circuit/Protection_Circuit/eyes_care_lamp3.html
Print this Page | Comments | Reading(3)
Code: