Published:2011/7/19 23:43:00 Author:chopper | Keyword: wireless, remote control, dimmable lamp | From:SeekIC


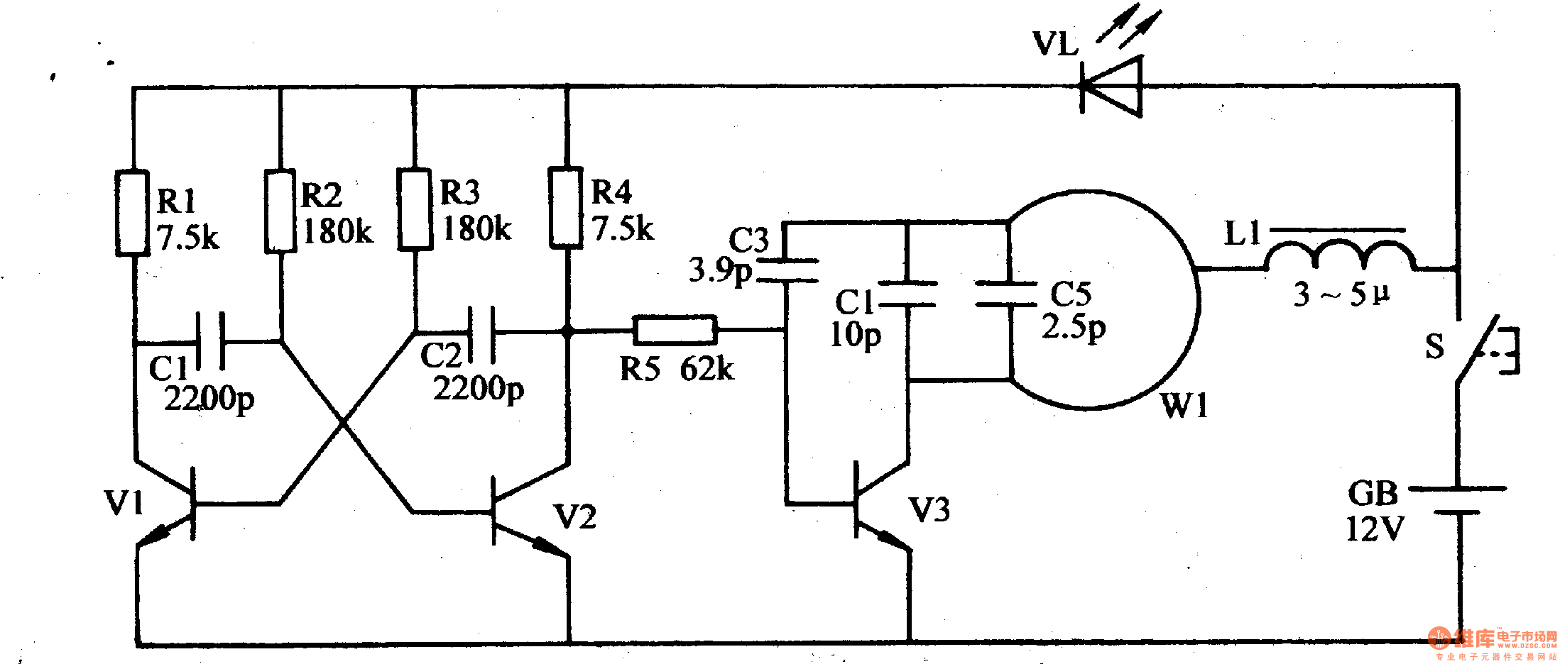
Decorative lights like general droplights are not of remote control and dimming functions,and they are very uneasy to use. This example describes the wireless remote control dimmable droplight, which is with power on/off and multi-level dimming functions,and the control distance is about 20m. The principle of circuitThe wireless remote control dimmable droplight circuit is formed by the wireless remote control transmitter circuit and wireless receiver dimmable controller circuit. Wireless remote control transmitter circuit is formed by the astable multivibrator,high-frequency oscillator,which is shown in Figure 1-197
Reprinted Url Of This Article:
http://www.seekic.com/circuit_diagram/Control_Circuit/Protection_Circuit/wireless_remote_control_dimmable_lamp1.html
Print this Page | Comments | Reading(3)
Code: