Published:2009/7/21 2:43:00 Author:Jessie | From:SeekIC

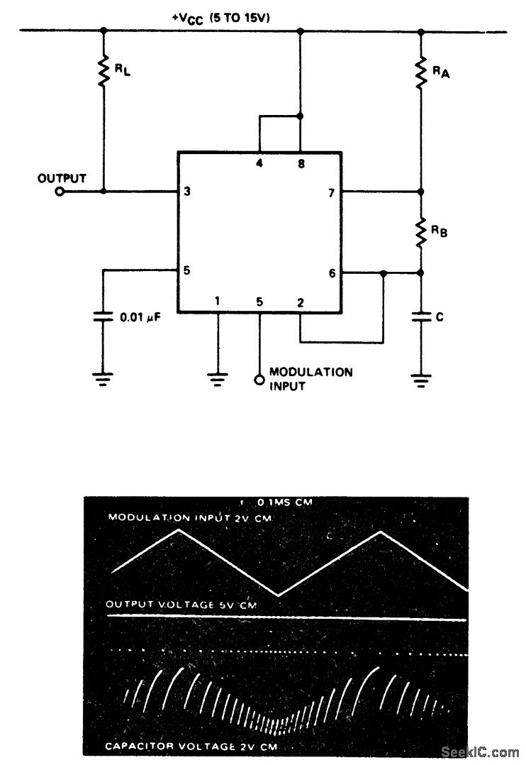
Pulse position modulator using an ECG955M timer/oscillator chip. The timer is connected as an astable multivibrator. With a modulating signal applied to pin 5 the pulse positon will vary with the modulating signal (courtesy GTE Sylvania Incorporated).
Reprinted Url Of This Article:
http://www.seekic.com/circuit_diagram/Control_Circuit/Pulse_position_modulator_using_an_ECG955M_timer.html
Print this Page | Comments | Reading(3)
Code: