Published:2009/7/21 11:02:00 Author:Jessie | From:SeekIC

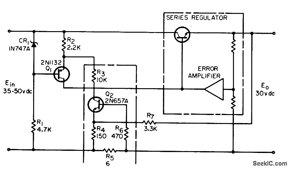
Circuit reduces power dissipotion in series regulator transistors under overload or short-circuit conditions by making output current decrease as load resistance decreases. Values shown are for 30 V d-c supply delivering 0.25 amp, with current limiting starting at 0.31 amp.-R. A. Lewis, Reduced-Power Overload Protection, EEE, 12:11, p 67.
Reprinted Url Of This Article:
http://www.seekic.com/circuit_diagram/Control_Circuit/REDUCED_POWER_OVERLOAD_PROTECTION_.html
Print this Page | Comments | Reading(3)
Code: