Published:2009/6/16 22:05:00 Author:May | From:SeekIC

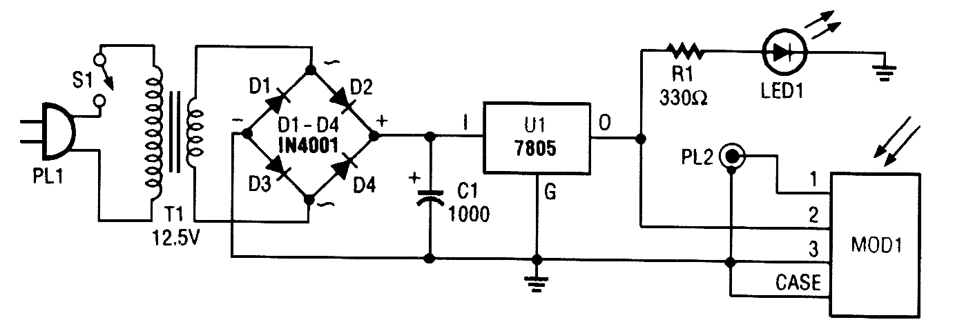
A schematic diagram for the remote analyzer is shown. The circuit is powered from a simple 5-V supply, consisting of PL1, 51, T1, abridge rectifier (comprised of Dl through D4), capacitor C1, and a common 5-V regulator, UI. Switch 51 is the on/off control and is optional. The power-supply trans-former used in the prototype is a 12.6-Vac unit, but any transformer that can supply at least 5.6-Vac will do. The 12.6-V unit was used solely because of its availability.The output of T1 is full-wave rectified by diodes Dl through D4 and filtered by C1. The bumpy dc output from the capacitor is regulated down to 5 V by UI, a 7805 integrated regulator, LED1 acts as a power indicator to let you know that the circuit is active.The 5-Vdc powers a GPIU52X infrared-detector module* (MODl), which demodulates the 40-kHz carrier used by most infrared remotes. After demodulation, the resulting logic pulses are sent to an oscilloscope via PL2, a BNC connector.
*Radio Shack part #276-137
Reprinted Url Of This Article:
http://www.seekic.com/circuit_diagram/Control_Circuit/REMOTE_CONTROL_ANALYZER.html
Print this Page | Comments | Reading(3)
Code: