Published:2009/7/21 10:14:00 Author:Jessie | From:SeekIC

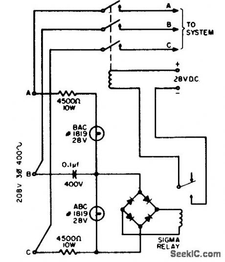
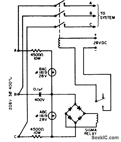
Used to protect navigation system against damage if phase rotation is reversed by careless or accidental power transfers. With correct rotation, lamp ABC lights and relay closes control circuit to allow operation. With reverse phase rotation, lamp BAC lights and relay does not close.-J. J. Pirch, Simple Reverse-Phase Protection, EEE, 11:12, p 26.
Reprinted Url Of This Article:
http://www.seekic.com/circuit_diagram/Control_Circuit/REVERSE_PHASE_PROTECTION.html
Print this Page | Comments | Reading(3)
Code: