Published:2009/7/3 3:20:00 Author:May | From:SeekIC

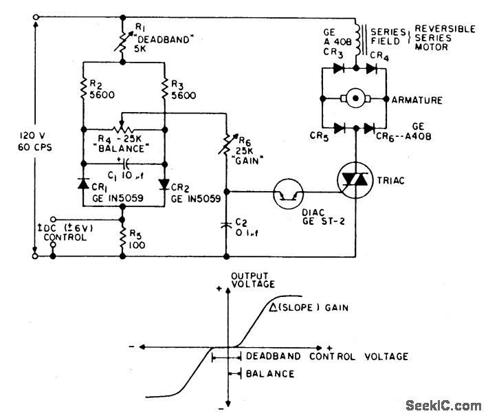
This is a positioning servo drive featuring adjustment of balance, gain, and deadband.In addition to control from a dc signal, mechanical input can be fed into the balance control, or that control could be replaced by a pair of resistance transducers for control by light or by temperature.
Reprinted Url Of This Article:
http://www.seekic.com/circuit_diagram/Control_Circuit/REVERSING_MOTOR_DRIVE_DC_CONTROL_SIGNAL.html
Print this Page | Comments | Reading(3)
Code: