Published:2009/7/21 23:19:00 Author:Jessie | From:SeekIC

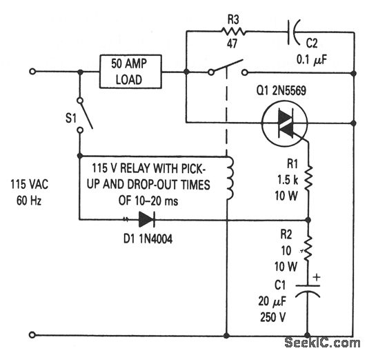
This circuit prevents relay-contact arcing for loads up to 50 A (many 5-A relays can be used for a 50-A load with this circuit). Using the values shown, triac Q1 turns on before the relay closes (when S1 is closed) and remains on after the relay opens. This minimizes arcing (and contact bounce ), even though the load current passes through the relay contacts. R3 and C1 act as a snubber to reduce dv/dt, if any other switching element is used on the line (and thus prevents Q1 from being turned on by transients).
Reprinted Url Of This Article:
http://www.seekic.com/circuit_diagram/Control_Circuit/Relay_contact_protection_that_uses_a_triac.html
Print this Page | Comments | Reading(3)
Code: